今天是:2015年04月01日 17:45:42 星期三

当前位置

人才交流(招聘)会审批
发布时间:2017-10-08 10:40 来源: 浏览次数: 次
恢复窄屏

事项名称

人才交流(招聘)会审批

事项类型

其他类审批权

行使层级

县级

通办范围

县级

承诺办结时限

30个工作日内

实施主体性质

法定本级行使

法定办结时限

30个工作日

受理部门

绥德县人社局

咨询电话

0912-5622169

联办机构

监督电话

0912-5622169

办理地点

绥德县政务服务中心4

办理时间

法定工作日上午800-12:00;下午14:00-17:30 八九月下午15:00-18:00

服务对象

人才市场中介组织

办理依据

《陕西省人才市场条例》第二十三条 行政管理部门、行业组织、社会团体、企业事业单位可以举办或者联合举办各类人才交流会。 第二十四条 举办人才交流会应当在人才交流会开始之日前三十日内报有管辖权的人事行政部门批准

受理条件

举办人才交流会应当在人才交流会开始之日前三十日内报有管辖权的人事行政部门批准。

申请材料

序号

材料名称

材料来源或出具单位

份数

材料形式

1

举办招聘会申请书

申请单位

1

纸质

2

主办单位的人力资源服务许可证

申请单位

1

复印件

3

组织方案、安全工作方案、突发事件应急预案、负责人及工作人员名册

申请单位

1

纸质

4

主办单位与协办单位的合作协议书

申请单位

1

纸质

结果名称

审批

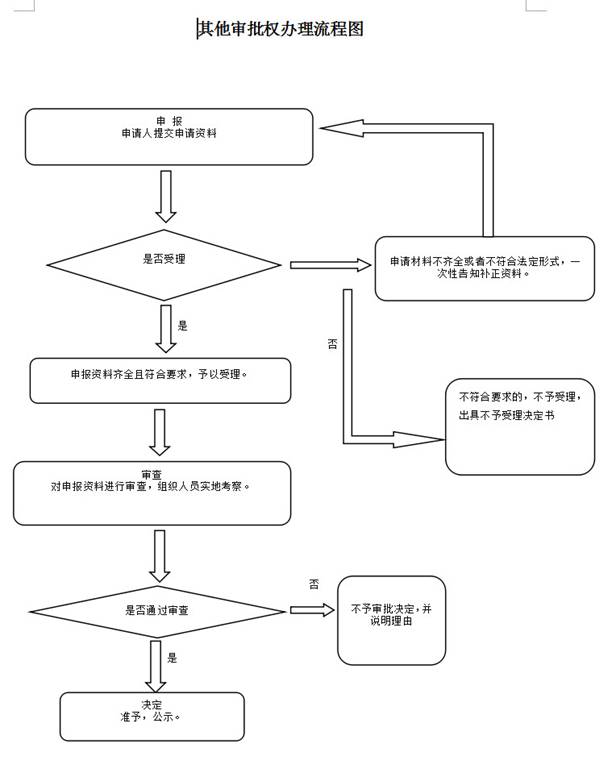
办理流程

收费情况

表格及样表